欢迎访问WANKE万科网站,本站提供:液压阀、电磁阀、溢流阀、单向阀、多路换向阀、液压控制阀等液压产品。
液压设备源头厂家淮安万科液压机械有限公司 欧盟标准 双效合一
全国咨询电话:186-5202-1240
热门关键词: 液压阀液压泵液压站
当前位置:主页 > 万科资讯 > 行业资讯 >

液压换向阀工作原理图,几张动态图讲解!

时间:2022-01-07 来源:WANKE万科 作者:液压阀厂家 点击:

众所周知,液压换向阀是一种通过改变油液流向来改变执行元件的运动方向的阀,其中阀的种类繁多,一般可以根据方式不同可分为手动、机动、电磁、液动、电液等种类,不同种类的阀门它的工作原理也是不同的,关于液压换向阀工作原理图,下面小编用几张动态图来讲解。
 
1、手动换向阀
手动换向阀工作原理图
手动换向阀的操作方式为手柄,利用杠杆原理推动阀芯在阀体内做运动实现换向。将手柄向左拉时,压力油P与A口相通,压力油进入执行元件,而执行元件的回油进入B口,从T口流回油箱;向右拉手柄,P通B,A通T,执行元件将反方向运动。
 
2、机动换向阀
机动换向阀工作原理图
机动换向阀也叫行程换向阀,通过执行机构上的挡铁或凸轮运动碰到行程换向阀的阀芯时,改变换向阀内部油路实现换向。
 
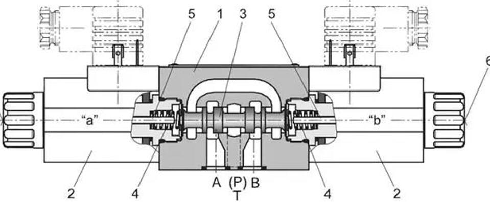
3、电磁换向阀
电磁换向阀工作原理
电磁换向阀的操作方式为电磁铁的吸引,通过让电磁铁通电后对衔铁的吸引,推动阀芯在阀体内运动实现换向,并在断电后由弹簧将阀芯复位。图示为力士乐4WE型电磁换向阀,为三位四通阀。当左侧电磁铁得电,推动阀芯右移,P通B,A通T;右侧电磁铁得电,P通A,B通T。
 
4、液动换向阀
 液动换向阀工作原理图
液动换向阀是以控制油作用在阀芯上,当控制油有压力时控制换向阀换向。液动换向阀通常与其他换向阀配合使用。图示当无压力油作用,弹簧作用在阀芯在最左侧,P通B,A通T;当有压力油时,阀芯右移,使P、T、A、B四口都不通。
 
5、电液换向阀
 电液换向阀工作原理图
电液换向阀适用于较大流量的场合,因为电磁铁所能提供的推力有限,在流量较大时,电磁铁将无法推动阀芯,而电液换向阀则是以一个电磁换向阀作为先导阀,液控换向阀作为主阀。通过电磁换向阀的换向改变控制油的流向,使主阀在控制油的作用下实现换向。

上述内容就是小编所给大伙分享的液压换向阀工作原理图了,希望对大伙有所帮助
 
标签:液压换向阀 换向阀
以上内容由WANKE万科液压设备原创内容,转载请注明来源:https://www.wkyeya.com/hangyezx/2319.html

相关推荐